Pump Control (Output Flow) - Adjustment
If the flow test results deviate significantly from the technical specifications, adjust the pump’s output flow.

Figure 1 Front View of Main Pump
(1) Rear Pump Adjuster
(2) Locknut
(3) Adjustment Screw
(4) Adjustment Screw
(5) Locknut
(6) Front Pump Adjuster

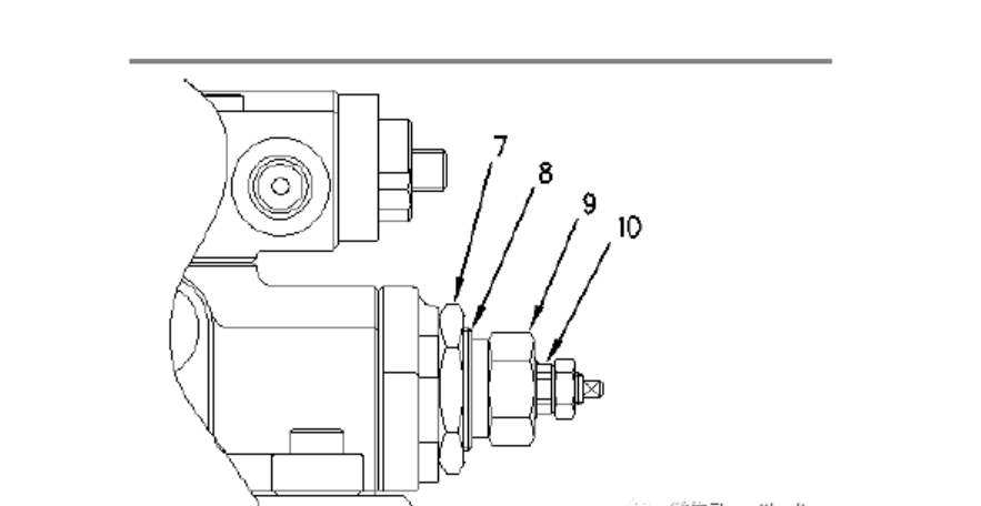
Figure 2
(A) Zone View
(7) Locknut
(8) Adjustment Screw
(9) Locknut
(10) Adjustment Screw
Adjustment of Output Flow under Stable Power Control
Note: The adjustment of the main pump flow under stable power control is accomplished by adjusting the rear pump adjuster (1) and the front pump adjuster (6).
Complete the first stage adjustment by following these steps:
a. Loosen the locknut (7).
b. Turn the adjustment screw (8) to the correct technical specification.
Note: Increasing the flow rate is achieved by turning the adjustment screw (8) clockwise. Decreasing the flow rate is achieved by turning the adjustment screw (8) counterclockwise. At a system pressure of 20600 kPa (3000 psi), each quarter turn of the adjustment screw (8) changes the flow rate by approximately 25 L/min (6.6 US gpm). At a system pressure of 31400 kPa (4550 psi), the flow rate change is approximately 12 L/min (3.2 US gpm).
c. Tighten the locknut (7) to a torque of 155 ± 20 N·m (115 ± 15 lb ft).Complete the second stage adjustment by following these steps:
a. Loosen the locknut (9).
b. Turn the adjustment screw (10) to the correct technical specification.
Note: Increasing the flow rate is achieved by turning the adjustment screw (10) clockwise. Decreasing the flow rate is achieved by turning the adjustment screw (10) counterclockwise. At a system pressure of 31400 kPa (4550 psi), each quarter turn of the adjustment screw (10) changes the flow rate by approximately 28 L/min (7.4 US gpm).
c. Tighten the locknut (9) to a torque of 120 ± 20 N·m (90 ± 15 lb ft).
Note: Any flow rate change for each full turn of the adjustment screw should be used only as a reference. Always use a flow meter to adjust the pump flow.
Adjustment of Maximum Pump Output Flow
To adjust the maximum output flow of the front pump, loosen the locknut (5).
Decrease the maximum output flow of the pump by turning the adjustment screw (4) clockwise. Increase the maximum output flow of the pump by turning the adjustment screw (4) counterclockwise. Each quarter turn of the adjustment screw (4) changes the flow rate by approximately 8 L/min (2.1 US gpm).
Tighten the locknut (5) to a torque of 235 ± 20 N·m (175 ± 15 lb ft).
To adjust the maximum output flow of the rear pump, loosen the locknut (2).
Decrease the maximum output flow of the pump by turning the adjustment screw (3) clockwise. Increase the maximum output flow of the pump by turning the adjustment screw (3) counterclockwise. Each quarter turn of the adjustment screw (3) changes the flow rate by approximately 8 L/min (2.1 US gpm).
Tighten the locknut (2) to a torque of 235 ± 20 N·m (175 ± 15 lb ft).
Note: Any flow rate change for each full turn of the adjustment screw should be used only as a reference. Always use a flow meter to adjust the pump flow.
For more information, please visit website at www.swaflyparts.com